最及時的信用債違約訊息,最犀利的債務危機剖析
作者:路世明
來源:鋅財經(ID:xincaijing)

娃哈哈的營收降到了近10年的最低點。
據中國工商聯發布的“2021中國民營企業500強榜單”顯示,娃哈哈2020年營收為439.8億元。滑落至近十年來的最低點,與其2009年的營收水平相當。
娃哈哈的成功,使得宗慶后在2013年至2016年間先后三次問鼎中國首富。但也是在這期間,娃哈哈開始走向衰落。
公開數據顯示,2014–2017年公司營收分別為728億元、677億元、529億元、456億元,5年縮水超300億元,下跌幅度達到了42%。此后四年營收都在四百億上下徘徊,始終沒有起色。

▲根據中國民營企業500強榜單歷年披露數據
作為國產飲料的一面旗幟,娃哈哈在新消費大潮下,正在經受著一次又一次的考驗。新潮飲品來勢洶洶,娃哈哈后知后覺。雖然當下仍是行業霸主之一,但隨著營收不斷下滑,運作狀況不斷,又有農夫山泉、元氣森林等虎視眈眈,娃哈哈自受“中年危機”以來,并沒有得到有效的緩解。
01
成也聯銷、敗也聯銷
在某次采訪中,宗慶后曾被要求總結娃哈哈成功三要素,但宗慶后卻說:“沒有三條,只有一條——渠道,也就是我們娃哈哈的聯銷體。”
關于所謂的聯銷體,娃哈哈官網上是這樣介紹的:“30余年來,娃哈哈精心編織出一張覆蓋近萬家經銷商、數十萬批發商、數百萬家銷售終端的聯銷體網絡,如毛細血管般深入全國各地的縣鎮鄉村,使得娃哈哈的新產品能在最短的時間鋪向全國。”
渠道要重于品牌,這是宗慶后的理念,也是娃哈哈前些年一直遵循的規則。
宗慶后曾舉過一個例子:如果你在路上渴了想喝水,但附近小賣部只賣娃哈哈礦泉水,你會為此多跑一公里買農夫山泉嗎,顯然大多數人是不會的。所以品牌其實沒那么重要,至少是沒有渠道重要。
可硬幣存在兩面性,雖然聯銷體給娃哈哈帶來了輝煌,但也是娃哈哈“沒落”的重要原因之一。
正所謂,成也聯銷、敗也聯銷。
在電商時代來臨之前,綁定渠道、快速鋪貨,讓娃哈哈的每一款新品,都能快速流入到終端渠道。同時,娃哈哈實行進貨一次、結算一次的規則,再加上經銷商需要向娃哈哈繳納銷售額的10%作為保證金,這既保證了娃哈哈能夠擁有充沛的現金流,也很大程度上降低了其銷售成本。
但渠道過于緊密、銷售鏈過于死板,從制造商開始,到經銷商、分銷商、批發商、終端商戶、消費者,整個系統的傳導效率很低,不但沒辦法快速的了解終端消費者的喜好,也很容易失去對各個環節的掌控。
隨著現代商超越來越強勢,商超的直營費用增高,娃哈哈又不愿進駐,超市也只能通過經銷商加價10-20%來進貨,逐漸的,商超對于娃哈哈的積極性也下滑了。
不過,商超的興趣降低影響不是很大,真正讓娃哈哈頹敗的原因,是對“聯銷體”的固執和電商時代的到來。
2014年,阿里、京東上市,也正是這一年,娃哈哈業績開始不斷下滑。
可惜的是,宗慶后這個“報時人”,這一次失去了前瞻性,他對于當時所謂的電子商務并不“感冒”,還曾公開談到馬云的新零售概念是“胡說八道”,以及發表“電商不如實體經濟”、“電商再強大也沖擊不了娃哈哈”等言論。
但幾年后,宗慶后和他的娃哈哈,還是沒能逃過“真香定律”。
2018年,在業績的壓力下娃哈哈不得不低頭,開始觸碰電商。先是聯手浙江中南控股集團合作推出保健飲品“娃哈哈天眼晶睛”,首次讓產品進入微商渠道。但后來被曝出“涉嫌傳銷”,因其在發展微信商城會員過程中,存在通過代理發展多層下線的行為。后又布局社區新零售,與杭州營養快樂新零售科技有限公司合作打造線下生活館。
至去年,在短短兩個月不到的時間里,娃哈哈先是斥巨資成立兩家電商公司,法人代表均為宗慶后;緊接著又在某節目中首次宣布自建電商平臺的消息;隨后還在“康有利電商平臺發布會”上透露,娃哈哈電商大廈將落成的消息。
事實上,娃哈哈除了康有利電商平臺,還有另外三個電商平臺,分別是食品飲料電商平臺、跨境電商平臺,以及與年輕人溝通交流的哈寶游樂園。
動作如此密集而頻繁,可見娃哈哈的焦慮程度。但“積極擁抱”電商的娃哈哈,似乎仍執著于“聯銷體”。
以其電商平臺康有利來說,平臺會員依次分為體驗官、云創客和云店長三個等級,升級的標準只有訂單額,可謂簡單粗暴。再結合宗慶后本人關于康有利的介紹:將號召10萬創業者,為其貸款做零售商,同時還會把經銷商、批發商、零售商聯結到線上,實現“線上下單,線下配送”的一體化模式。
如此來看,娃哈哈并非真正“擁抱”電商,更多的,是想把“聯銷體”搬到線上而已。但把聯銷體“數字化”了,就能讓娃哈哈新獲生機、重返輝煌嗎?目前來看,答案是否定的。
02
不斷抄襲、屢戰屢敗
娃哈哈的沒落,從根源上來說并非“電商”,而在于沒有了“主打產品”。
就目前來說,除了撐起銷售額的AD鈣奶、八寶粥、營養快線這“老三件”外,幾乎娃哈哈投資的新項目、新產品都沒有什么亮點。
據統計,娃哈哈出產的產品已經高達300多種,但基本都是對市場上已成功飲料的模仿,然后低成本迅速復制,并借助娃哈哈強大而穩固的經銷商渠道投放至渠道終端。因此娃哈哈也被冠以了“飲料界騰訊”的“名號”。不過,這種行為消費者并不買賬,還造成了一種戰略短視和資源浪費。
其實關于這點,宗慶后在接受央視《對話》采訪中也直言過:“缺少新的大單品是極其重要的一點”。顯然,對于娃哈哈的走勢,宗慶后可以說是一個清醒的落后者。雖然不斷的在焦慮當中尋求新的出路,但多年來嘗試過的眾多項目,終究沒有一個“亮眼”的成績。
早在2002年,娃哈哈就先后進軍童裝、方便面、奶粉、礦產行業,但可惜的是,在投入巨大的人力、物力和廣告成本后,這些業務均以失敗退出而告終。
至2011年,曾明確說不涉足房地產的宗慶后公開表示,計劃將手中的百億現金投向商業地產和礦山等領域。再到2013年,在這個娃哈哈歷史上最輝煌的一年,娃哈哈集團與貴州省仁懷市政府簽訂了白酒戰略投資協議,投資額為150億元,并同時發布一款以貴州茅臺鎮為原產地的醬香型白酒——“領醬國酒”,但效果亦差強人意......
經歷了多次嘗試又多次失敗后的娃哈哈,開始逐漸回歸平靜。可隨著時間推移,娃哈哈終究還是“沒沉住氣”,又開始“折騰”了。
2020年,逃不過“真香定律”的宗慶后,在高調宣布娃哈哈進軍電商后,連續打造4個電商平臺。并在他75歲這年進行了人生中第一場直播,為娃哈哈即將推出的中老年保健品電商平臺康有利宣傳造勢。
雖然娃哈哈對于健康領域并不陌生,但那已是上個世紀的事情了。當再次踏進大健康領域時,這里已是人滿為患,娃哈哈又該如何分得一杯羹呢?
同年5月,娃哈哈在江蘇淮安設立了第一家連鎖門店,推出了多款以AD鈣奶為原料的奶茶,主打國潮、情懷、營養元素,并開放加盟模式。隨即,娃哈哈奶茶店開始在全國范圍內開放加盟。7月時,娃哈哈在廣州的線下茶店開業,75歲的宗慶后還親自到場站臺。
但“賣奶茶”一年后,有多名娃哈哈奶茶店的加盟商在媒體上爆料稱,加盟后門店持續虧損,品牌“沒有直營店卻直接開放加盟,口頭承諾虛假消息”,還有加盟商稱品牌沒有加盟資質,自己卻被誤導簽了多家店的合作合同等;不少加盟商只能閉店轉讓減少損失。
除此之外,娃哈哈“公主”宗馥莉也沒閑著,也在嘗試創新和破圈,譬如打造KellyOne新品牌,跨界做AD鈣奶味奶心月餅,推出炫彩版營養快線等,但結果仍是連連失利。
童裝、奶粉、白酒、房地產、城市商業綜合體、大健康、電商、奶茶店、新潮飲品……
屢戰屢敗、屢敗屢戰的娃哈哈,始終沒有找到新的增長引擎。
03
高齡掛帥、跨界創投
今年7月9日,娃哈哈創投正式完成基金管理人備案登記,原娃哈哈集團董事長宗慶后也在7月12日獲得了基金從業資格,成為娃哈哈創投的法定代表人。
當然,宗慶后的基金從業資格證并非是通過考試獲得,這條路76歲的宗慶后來說不太現實,證書其實是通過資格認定獲得的。
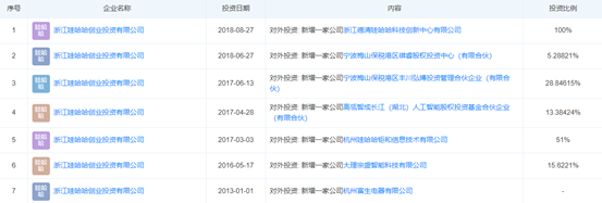
實際上,娃哈哈創投成立已有十余年。根據公開資料顯示,娃哈哈創投早在2010年11月8日就已成立。從2016年至今,娃哈哈創投共進行過6次對外投資,包括投資寧波梅山保稅港區祺睿股權投資中心、高瓴智成長江人工智能股權投資基金合伙企業等。

雖然成立已過10年之久,但娃哈哈創投一直沒有作為基金管理人參與,而是以有限合伙人身份間接參與創投,且通過設立分公司對接項目融資需求。
此次娃哈哈創投正式完成基金備案,意味著將以基金管理人的身份參與創業投資。而且按照相關規定,私募基金管理備案完成后,必須在半年之內就發行產品。也就是說,娃哈哈目前大概率已經籌備或完成新基金的募資準備工作。
其實近年來食品機構投身創投圈的例子屢見不鮮,比如絕味食品早于2019年創立的私募股權基金,投出了包括盛香亭、幺麻子等餐飲食品品牌;再比如洽洽食品,參與四川成都新津肆壹伍基金,出資6000萬元人民幣,持股5.45%......

娃哈哈眼下選擇正式進軍創投,可以說不足為奇。
雖然創投圈確實是個大蛋糕,但不是每個人都能分到。娃哈哈在食品飲料領域優勢突出,但跨界布局和投資高科技賽道,考驗的是投資者在人才、技術、管理等各方面的積累,尤其是資源整合的經驗和能力。即便宗慶后縱橫商界多年,但也不一定就有所收獲。
回首看去,輝煌無比的娃哈哈逐漸失去了光環。曾經那個炮轟電商的宗慶后,如今正熱火朝天的“網銷”;曾經那個不愿上市的宗慶后,如今又在一步步的“親近”資本。
高齡掛帥,跨界創投,究竟能否助力娃哈哈沖破困局,只能拭目以待。
但無論結果如何,作為一名76歲的老人,宗慶后仍在帶領娃哈哈砥礪前行,他值得每一位“創業者”的尊敬。
注:文章為作者獨立觀點,不代表資產界立場。
題圖來自 Pexels,基于 CC0 協議
本文由“鋅財經”投稿資產界,并經資產界編輯發布。版權歸原作者所有,未經授權,請勿轉載,謝謝!

鋅財經 











